Authors: Russell C. Hibbeler
ISBN-13: 978-0133915426
See our solution for Question 72P from Chapter 17 from Hibbeler's Engineering Mechanics.
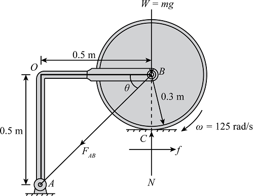
We are given the mass of disk $m = 30\;{\rm{kg}}$, the angular speed of the disk as $\omega = 125\;{\rm{rad/s}}$, the coefficient of kinetic friction as ${\mu _C} = 0.5$, and the radius of the disk as $r = 0.3\;{\rm{m}}$.
We are asked to determine the time required to stop the motion and, the horizontal and vertical components of force which the member $AB$ exerts on the pin $A$.
We will draw a free body diagram of the disk.

Here, ${F_{AB}}$ is the force in the member $AB$, $N$ is the normal force, $f = {\mu _C}N$ is the friction force, $W$ is the weight of the disk and $g = 9.81\;{\rm{m/}}{{\rm{s}}^{\rm{2}}}$ is the gravitational acceleration.
The length $OB$ is $OB = 0.5\;{\rm{m}}$.
The length $OA$ is $OA = 0.5\;{\rm{m}}$.
We will find the angle $\theta $ from the figure.
\[\tan \theta = \frac{{OA}}{{OB}}\]Substitute the given value in the above equation.
\[\begin{array}{c} \tan \theta = \left( {\frac{{{\rm{0}}{\rm{.5}}\;{\rm{m}}}}{{{\rm{0}}{\rm{.5}}\;{\rm{m}}}}} \right)\\ \theta = {\tan ^{ - 1}}\left( {\frac{{{\rm{0}}{\rm{.5}}\;{\rm{m}}}}{{{\rm{0}}{\rm{.5}}\;{\rm{m}}}}} \right)\\ \theta = 45^\circ \end{array}\]We will find the moment of inertia of the disk.
\[I = \frac{1}{2}m{r^2}\]Substitute the given value in the above equation.
\[\begin{array}{c} I = \frac{1}{2}\left( {30\;{\rm{kg}}} \right){\left( {0.3\;{\rm{m}}} \right)^2}\\ I = 1.35\;{\rm{kg}} \cdot {{\rm{m}}^{\rm{2}}} \end{array}\]We will resolve the forces in the horizontal direction.
\[\begin{array}{c} \sum {{F_x}} = 0\\ f - {F_{AB}}\cos \theta = 0\\ {\mu _C}N - {F_{AB}}\cos \theta = 0 \end{array}\]Substitute the given value in the above equation.
\[\begin{array}{c} 0.5N - {F_{AB}}\cos 45^\circ = 0\\ 0.5N = {F_{AB}}\cos 45^\circ \\ N = 2{F_{AB}}\cos 45^\circ \end{array}\]We will resolve the forces in the vertical direction.
\[\begin{array}{c} \sum {{F_y}} = 0\\ N - {F_{AB}}\sin \theta - mg = 0\\ N = {F_{AB}}\sin \theta + mg \end{array}\] … (1)Substitute the given value in equation (1).
\[\begin{array}{c} 2{F_{AB}}\cos 45^\circ = {F_{AB}}\sin 45^\circ + \left( {30\;{\rm{kg}}} \right)\left( {9.81\;{\rm{m/}}{{\rm{s}}^{\rm{2}}}} \right)\\ {F_{AB}}\left( {2\cos 45^\circ - \sin 45^\circ } \right) = \left( {30\;{\rm{kg}}} \right)\left( {9.81\;{\rm{m/}}{{\rm{s}}^{\rm{2}}}} \right)\\ {F_{AB}} = \frac{{\left( {30\;{\rm{kg}}} \right)\left( {9.81\;{\rm{m/}}{{\rm{s}}^{\rm{2}}}} \right)}}{{\left( {2\cos 45^\circ - \sin 45^\circ } \right)}} \times \left( {\frac{{{\rm{1}}\;{\rm{N}}}}{{{\rm{1}}\;{\rm{kg}} \cdot {\rm{m/}}{{\rm{s}}^{\rm{2}}}}}} \right)\\ {F_{AB}} = 416.2\;{\rm{N}} \end{array}\]Substitute the given value in equation (1) to find the normal force.
\[\begin{array}{c} N = \left( {{F_{AB}}} \right)\sin 45^\circ + \left( {30\;{\rm{kg}}} \right)\left( {9.81\;{\rm{m/}}{{\rm{s}}^{\rm{2}}}} \right)\\ N = \left( {416.2\;{\rm{N}}} \right)\sin 45^\circ + \left( {30\;{\rm{kg}}} \right)\left( {9.81\;{\rm{m/}}{{\rm{s}}^{\rm{2}}}} \right) \times \left( {\frac{{{\rm{1}}\;{\rm{N}}}}{{{\rm{1}}\;{\rm{kg}} \cdot {\rm{m/}}{{\rm{s}}^{\rm{2}}}}}} \right)\\ N = 588.6\;{\rm{N}} \end{array}\]We will find the angular acceleration of the disk.
\[\begin{array}{c} \sum M = I\alpha \\ f \times r = I\alpha \\ {\mu _C}N \times r = I\alpha \end{array}\]Here, $\alpha $ is the angular acceleration of the disk.
Substitute the given value in the above equation.
\[\begin{array}{c} 0.5\left( {588.6\;{\rm{N}}} \right) \times \left( {{\rm{0}}{\rm{.3}}\;{\rm{m}}} \right) = \left( {1.35\;{\rm{kg}} \cdot {{\rm{m}}^{\rm{2}}}} \right)\alpha \\ \alpha = \frac{{0.5\left( {588.6\;{\rm{N}}} \right) \times \left( {{\rm{0}}{\rm{.3}}\;{\rm{m}}} \right)}}{{\left( {1.35\;{\rm{kg}} \cdot {{\rm{m}}^{\rm{2}}}} \right)}}\\ \alpha = 65.4\;{\rm{rad/}}{{\rm{s}}^2} \end{array}\]The angular acceleration of the disk is in anticlockwise direction.
We will draw a free body diagram of member $AB$.

Here, ${A_x}$ is the horizontal component and ${A_y}$ is the vertical component.
We will resolve the forces in the horizontal direction to find the horizontal component of force.
\[\begin{array}{c} \sum {{F_x}} = 0\\ {F_{AB}}\cos \theta - {A_x} = 0\\ {A_x} = {F_{AB}}\cos \theta \end{array}\]Substitute the given value in the above equation.
\[\begin{array}{c} {A_x} = \left( {416.2\;{\rm{N}}} \right)\cos 45^\circ \\ {A_x} = 294.3\;{\rm{N}} \end{array}\]We will resolve the forces in the vertical direction to find the vertical component of force.
\[\begin{array}{c} \sum {{F_y}} = 0\\ {F_{AB}}\sin \theta - {A_y} = 0\\ {A_y} = {F_{AB}}\sin \theta \end{array}\]Substitute the given value in the above equation.
\[\begin{array}{c} {A_y} = \left( {416.2\;{\rm{N}}} \right)\sin 45^\circ \\ {A_y} = 294.3\;{\rm{N}} \end{array}\]We will find the time required to stop the wheel.
\[{\omega _f} = \omega + \left( { - \alpha } \right)t\]Here, ${\omega _f} = 0\,{\rm{rad/s}}$ is the final angular speed of the disk and $t$ is the required time.
Substitute the given value in the above equation.
\[\begin{array}{c} \left( {{\rm{0}}\;{\rm{rad/s}}} \right) = \left( {125\;{\rm{rad/s}}} \right) + \left( { - 65.4\;{\rm{rad/}}{{\rm{s}}^2}} \right) \times t\\ t = \left( {\frac{{ - 125\;{\rm{rad/s}}}}{{ - 65.4\;{\rm{rad/}}{{\rm{s}}^2}}}} \right)\\ t = 1.91\;{\rm{s}} \end{array}\]