Authors: Russell C. Hibbeler
ISBN-13: 978-0133915426
See our solution for Question 76P from Chapter 8 from Hibbeler's Engineering Mechanics.
We are given the couple forces applied to the handle of the machinist's vise is $F = 35\;{\rm{N}}$, the mean radius of the square threaded screw is $r = 6\;{\rm{mm}}$, the lead of the square threaded screw is $l = 8\;{\rm{mm}}$, and the coefficient of static friction is ${\mu _s} = 0.27$.
We are asked to determine the compressive force developed in the block.
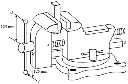
The diagram of the system is shown as:

We have the distance between the couple of forces is $R = 125\;{\rm{mm}} + 125\;{\rm{mm}} = 250\;{\rm{mm}}$.
The formula to calculate the angle of static friction is,
\[\tan {\phi _s} = {\mu _s}\]Substitute the values in the above expression.
\[\begin{array}{c} \tan {\phi _s} = 0.27\\ {\phi _s} = 15.11^\circ \end{array}\]The formula to calculate the lead angle is,
\[\tan \theta = \frac{l}{{2\pi r}}\]Substitute the values in the above expression.
\[\begin{array}{c} \tan \theta = \frac{{\left( {8\;{\rm{mm}}} \right)}}{{2\pi \left( {6\;{\rm{mm}}} \right)}}\\ \theta = 11.98^\circ \end{array}\]The formula to calculate the compressive force developed in the block is,
\[\begin{array}{c} M = rP\tan \left( {{\phi _s} + \theta } \right)\\ FR = rP\tan \left( {{\phi _s} + \theta } \right) \end{array}\]Substitute the values in the above expression.
\[\begin{array}{c} \left( {35\;{\rm{N}}} \right)\left( {250\;{\rm{mm}}} \right) = \left( {6\;{\rm{mm}}} \right)\left( P \right)\tan \left( {15.11^\circ + 11.98^\circ } \right)\\ P = \frac{{\left( {35\;{\rm{N}}} \right)\left( {250\;{\rm{mm}}} \right)}}{{\left( {6\;{\rm{mm}}} \right)\tan \left( {27.09^\circ } \right)}}\\ P = 2851.06\;{\rm{N}} \times \left( {\frac{{1\;{\rm{kN}}}}{{1000\;{\rm{N}}}}} \right)\\ P = 2.85\;{\rm{kN}} \end{array}\]